|
|

This is a robust rust proof valve, working on water pressure up to 20 bar. The unit is installed above the discharge point of the conveyor approximately .800mm from the belt. It is operated by a flap on a pendulum arm, that in turn opens the water when the material moves the flap. If the conveyor runs empty, the flap will hang in a vertical position, thus closing off the water supply to the sprays, avoiding the misuse of water at the discharge points. The valve is manufactured from brass and has a very few working parts, making servicing easy.
Back to top

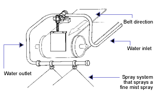
This is a robust rust proof mechanically operated valve which operates with water pressure up to 20 Bar. The unit is installed beneath the top conveyor belt, between two idlers with the wheel 3mm below the underside of the empty conveyor belt. When material is conveyed, the belt deflects the lever arm of the unit and opens the valve to the water sprays. Water on the product is controlled with the METFLO 400 valve, with no material on the belt, there is no water to the sprays. Framework on the unit allows for ease of installation and maintenance.
Back to top
|